puo's菜园子
Puo's 菜园子 学习园地 http://puo.cn
易记网址: http://wordpress.cn.com
首页
本站说明
写文章
源码
wordpress
域名
i网络
i生活
i工作
外网导航
友人链
留言板
存档
关注我们
微信:farhans
Telegram电报
Hi, 请登录
我要注册
找回密码
当前位置:
Puo's 菜园子
i网络
服务器vps
正文
购买了一台狐蒂云JB-日本-16H16G-100mbps
2026-04-04 16:49:34
分类:
服务器vps
阅读(
)
评论(0)
T.V.J
本来3年138元的,续费125元/3年
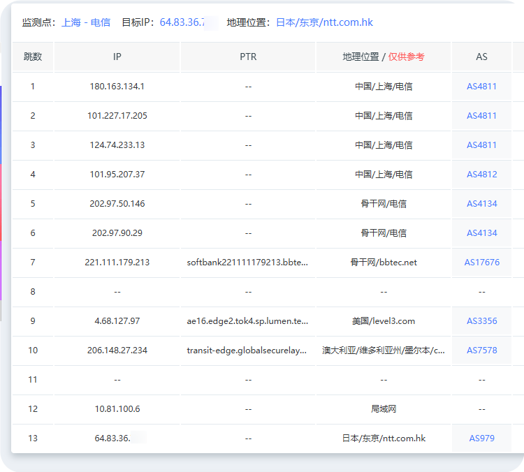
测试:
http://hpaste.spiritlhl.net/#/show/JgGv8.txt
测试:
NQ
测试:
链接三
打赏
谢谢谅解上文的粗糙,允许转载,请注明转载地址:
Puo's 菜园子
»
购买了一台狐蒂云JB-日本-16H16G-100mbps
分享到
狐蒂云
剑痞
白天晕乎乎,晚上睡不着的中年大叔 http://puo.cn http://wordpress.cn.com
上一篇
购买了一台狐蒂云的US-代号JA-16H16G-50mBPS 可上架市场
下一篇
狐蒂云US-JB-16H16G-100MBPS普通线路
相关推荐
399买了一台狐蒂云日本永久机
狐蒂云美国138-J-B款更换线路的情况
240收了一台狐蒂云JB-16h16g 100mbps 三网优化的
狐蒂云CB-HK-16H16G-20Mbps*1台
狐蒂云US-JB-16H16G-100MBPS普通线路
购买了一台狐蒂云的US-代号JA-16H16G-50mBPS 可上架市场
v4送的狐蒂云永久的新加坡2H2G-20Mbps
购狐蒂云KB-美国8H8G-100Mbps*2台
评论
抢沙发
取消
有人回复时邮件通知我
Δ
提交评论
说说
直接加QQ群代码
2026-04-06
https://ti.qq.com/new_open_qq/index.html?appid=64&url=m […]
油价下调了我还不知道
2026-03-23
我这个人不关心政治, 也不关心国际局势,所以造成油价下调了,我还不知道。今天又买了20吨...
www.lovelive-anime.jp 的 Ping 值稳定在 2ms 左右
2026-03-20
www.lovelive-anime.jp 通过在东京机房的 VPS 实测,www.lovelive-anim […]
狐蒂云vps代号JB
2026-03-20
买了三台狐蒂云的美国J-b,配置16h16g-50g-100mbps的vps,价格低138元/3年,超售型。还 […]
甲骨文云升级
2026-03-19
甲骨文账号进去直接订阅升级就行了,没什么特别的。升级开出来的ARM机器(免费额度4核24G、200G以内)旁边 […]
分类
i工作
i生活
i网络
公告
各种方法论
域名与建站
大杂烩
工具和软件
应用和记录
影音书图
想说和想做
感悟分享
服务器vps
网络素材
营销学习
货代外贸
集运物流
做一个好的个人学习园地
主要网建,域名、集装箱物流、生活方法论的学习及研究,整理等内容
我的原创博客-忆秋年
Puo's菜园子-我的学习园地
觉得文章有用就打赏一下文章作者
非常感谢你的打赏,我们将继续提供更多优质内容,让我们一起创建更加美好的网络世界!
支付宝扫一扫
微信扫一扫
QQ咨询
46369606
关注微信
farhans
复制微信号
回顶部
切换注册
登录
用户名或邮箱
找回密码
密码
记住我
切换登录
注册
用户名
邮箱
邮箱验证码
设置密码